Veri tasarrufu, "sınırsız" veri kotasına erişimi bulunmayan kullanıcılar için çok önemli bir konu. Dahası veri tasarrufu, açılması uzun süren sitelerin de daha çabuk açılması ve daha iyi bir web deneyimi anlamına gelebiliyor.

Microsoft'un yeni yayınlanan patentin başvurusu, firma tarafından sadece birkaç ay önce yapılmış. Patentli teknoloji, web sayfaları yüklenirken bant genişliğinden, zamandan ve hatta donanım kaynaklarından tasarruf etmeyi sağlayan bir tarayıcı eklentisi.
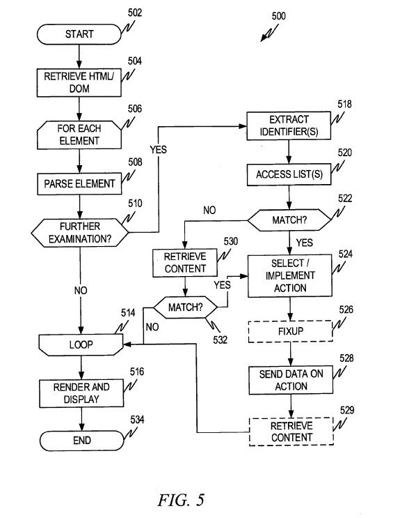
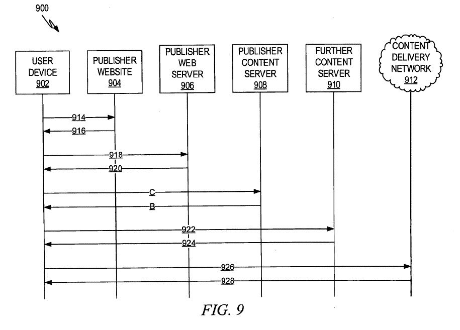
Microsoft'a göre modern web sayfaları, kullanıcıların ilgi duymadığı birçok şey içeriyor. Bu tür içerikler çoğu zaman birçok farklı konumdan getiriliyor. Bazen sadece sayfayı kaydırmanız bile içerik isteklerini tetikleyebiliyor. Patentli eklenti, ek veri, yönlendirme gibi eylemler içeren bağlantıları algılıyor. Bu eylem, veriyle ilişkilendirilmiş bir tanımlayıcıya göre gerçekleştirilebiliyor. Web sayfası, buna göre işlenip gösteriliyor.
Bahsedilen tanımlayıcılar, kullanıcılar tarafından yönetiliyor ve yerel olarak saklanabiliyor. Bu tanımlayıcılar, "ilgi alanlarını / ilgi alanı olmayan alanları" belirlemeyi amaçlıyor. Konsept daha da geliştirilerek, sosyal medya hesabınız üzerinden ilgi alanlarınız hesaplanabiliyor.
Eklenti, siz verileri almadan önce de çalışabiliyor ve ilgi alanınıza girebilecek bilgilere yönelik veri gönderebiliyor. Alınan cevaba göre istenmeyen veri, hiç alınmayabiliyor. İlgisiz bilgiler, istenirse bir başka konumda gösterilmek üzere yönlendirilebiliyor. Bu durumda bilginin orijinal konumu boş kalıyor.

Microsoft, böyle bir eklentinin reklam engelleyicilerden farklı çalışacağını söylüyor. Çünkü içerik engellenmek yerine sunucularla konuşularak sadece kullanıcının ilgileneceği veri indiriliyor. Böylece bant genişliği ve kaynak kullanımı azaltılıyor.
Bu teknolojinin gerçeğe dönüşeceğinin bir garantisi yok. Üstelik eklentinin pratikte gerçekten işe yarayıp yaramayacağı veya yayıncıların böyle bir eklentiden hoşlanmayabileceği ve onu atlatmanın yollarını arayabileceği, ihtimaller dahilinde. Patentin asıl amacı, bu tür bir eklentinin haklarının Microsoft'a ait olduğunu açıklamak.