AMD, bellek teknolojilerinde önemli bir sıçrama yapmaya hazırlanıyor olabilir. Şirketin yeni ortaya çıkan bir patenti, bellek performansını mevcut DDR5 standartlarının çok ötesine taşıyacak yenilikçi bir mimariyi işaret ediyor. Bu gelişme, özellikle yapay zeka, sunucu ve yüksek performanslı oyun sistemleri için çok daha hızlı veri erişimi demek.
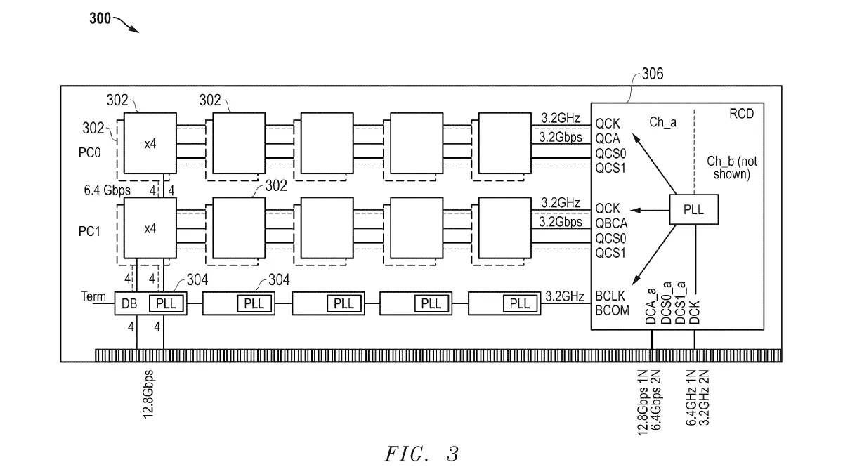
Tech4Gamers tarafından tespit edilen patent başvurusunun merkezinde, temel DRAM yongalarını değiştirmeye gerek kalmadan veri hızlarını iki katına çıkarabilecek "yüksek bant genişliğine sahip bir bellek modülü mimarisi" bulunuyor. Mevcut DDR5 standardı, normalde saniyede 6,4 Gigabit (Gbps) hız sunarken, AMD'nin önerdiği yeni tasarım, bellek veri yolunda bu hızı tam 12,8 Gbps'ye çıkarmayı hedefliyor.
Peki bu nasıl mümkün olacak?
AMD, çözümü "Yüksek Bant Genişliğine Sahip Çift Sıralı Bellek Modülleri" (HB-DIMM'ler) adı verilen bir yapıda bulmuş. Bu modüller, birden fazla DRAM yongasını, veri iletimini normal hızın iki katında gerçekleştirebilen özel tampon yongalarıyla birleştiriyor. Bu sayede, tamamen yeni bir bellek standardı (DDR6 gibi) yaratmak yerine, günümüzün DDR5 teknolojisiyle bant genişliğini ölçeklendirmek mümkün oluyor.
Patent, sadece ham hızı artırmakla kalmıyor, aynı zamanda verimliliği artırmak için akıllı mekanizmalar da içeriyor. Tasarım, sözde kanalların (pseudo channels) ve gelişmiş sinyal yönlendirmenin kullanımını kapsıyor.

Modül içerisindeki bir kayıt saati sürücü devresi (RCD), gelen bellek komutlarını ayrıştırıyor ve bir çip tanımlayıcı biti kullanarak sinyalleri bağımsız olarak adreslenebilir kanallara yönlendiriyor. Bu mimari, bellek yongalarına paralel erişim imkanı sağlıyor ve mevcut DDR5 uyumluluğunu korumaya yardımcı olacak esnek saatleme modlarına olanak tanıyor. Veri aktarımı ise sinyal bütünlüğünü basitleştirmek ve olası gecikmeleri (latency) azaltmak için iç içe geçmeli olmayan bir format kullanıyor.
Oyun ve yapay zeka için kritik ihtiyaç
AMD, patent başvurusunda bu yükseltmenin neden gerekli olduğunu net bir şekilde ortaya koyuyor. Şirket, mevcut DDR5 belleğin özellikle grafik işlemcilerin ve yüksek performanslı sunucuların giderek artan bant genişliği taleplerini karşılamakta zorlandığını savunuyor.
Yeni tasarım, sözde kanal ve dörtlü kademe modları arasında geçiş yapabilme yeteneği sunarak, yüksek performanslı bilgi işlem (HPC), yapay zeka iş yükleri ve en hızlı belleğe ihtiyaç duyan zorlu oyun sistemleri için kolayca uyarlanabilir.
Bu gelişme, rakiplerin de yüksek hızlı bellek çözümleri aradığı bir döneme denk gelmiş durumda. Rakip Nvidia'nın daha önce teknik sorunlar nedeniyle rafa kaldırdığı SOCAMM 1 projesinin ardından, şirket şu anda veri merkezleri için modüler tasarımlara odaklanan SOCAMM 2 üzerinde sektör devleriyle (Samsung, SK Hynix, Micron) ayrı ayrı çalışıyor. Ancak AMD’nin önerisi, mevcut DDR5 sistemleri için uyarlanabilir bir iyileştirme olarak farklı bir konumda yer alıyor.
Şu an için bu patentin bir ticari ürün olarak karşımıza çıkıp çıkmayacağı belirsiz. Ancak bu gelişme, teknoloji sektöründe DDR5’in mevcut yol haritasının ötesine geçme ve artan veri talebini karşılama baskısının somut bir göstergesi.