Son dönemde katlanabilir ekranlı modeller hakkında çok şey duyduk. Samsung'un bir yandan, Microsoft'un diğer yandan bu konuda çalışması, elbette uzun zamandır diğer teknoloji devleri tarafından da kulak ardı edilmiyor. Daha başka pek çok markanın da bu konuyla ilgili çalışma içinde olduğunu biliyoruz. Şimdi bunlara Dell de katılıyor gibi görünüyor. Zira Dell'in aldığı patent örneği ortaya çıktı.

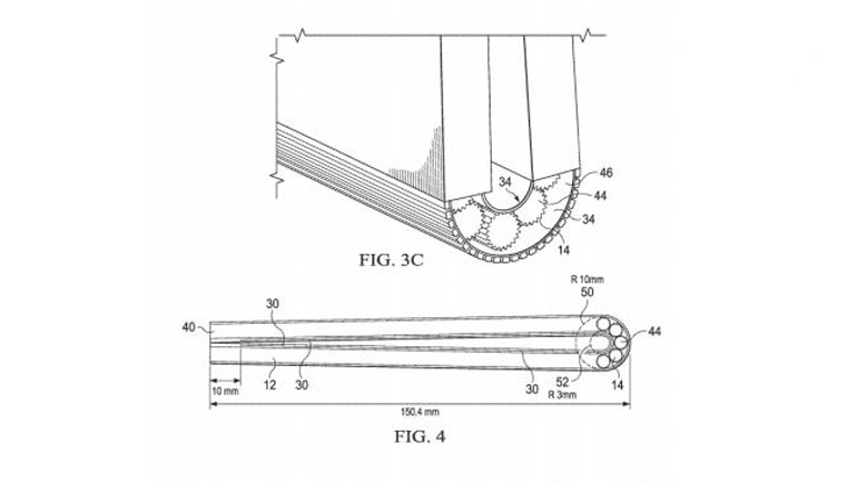
Evet, raporlanan patent önreğine göre, Dell de katlanabilir ekranlı cihaz işine girecek. Esnek ekranlı OLED ekranlardan oluşan patent örneğine göre, iki ekran arasına 5 dişli döner menteşe elemanı yer alıyor. Ancak bu kullanım şekli, katlanabilir bütün bir ekrandan ziyade, arada bir levha barındıran katlanabilir ekranlar gibi görünüyor. Elbette Dell bunu tıpkı, kısa bir süre önce CES 2019'da tanıtılan Royole FlexPai gibi bir şekilde sunabilir. Yani menteşe yapısı iç yüzeyde kalacak, üzerine yekpare OLED ekran giydirililecek. Elbette Dell'in katlanabilir 2'si 1 cihazı için konuşmak için çok erken. Zira bu patent örneğinden başka şu an bilinen bir başka detay yok.
Peki, sizce teknoloji devlerinin katlanabilir ekran hamlesi tutar mı? Önümüzdeki yıllarda akıllı telefon ve tablet tarafında sıkça göreceğimiz aşikar olan bu teknolojiden sizin beklentiniz neler? Düşüncelerinizi bizlerle yorum olarak paylaşabilirsiniz.