Samsung'un katlanabilen ekranlı bir telefonu piyasaya sürebilmek için uzun süredir çalıştığını, bunu 2018'de yapabileceğini biliyoruz. Firmanın yeni bir patent başvurusu ise beklenen katlanan telefon Galaxy X'in daha çok eski katlanan telefonlara benzeyebileceğini gösteriyor.

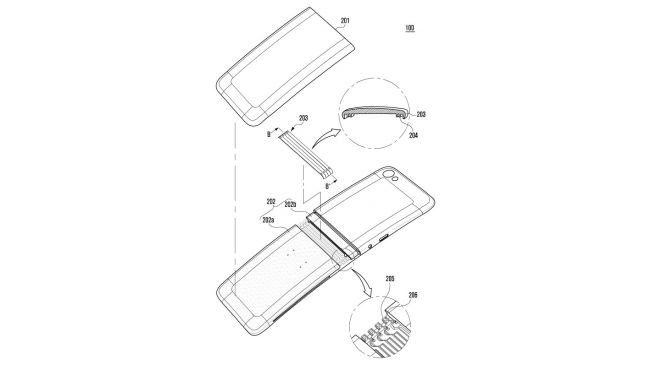
Kore'de doldurulan ve LetsGoDigital tarafından fark edilen sertifikasyon belgeleri, Galaxy X'in katlanmasını sağlayan "menteşeli" tasarımını gösteriyor. Belgelerde telefonun sadece arkasını görüyoruz ancak çizimlerden ön tarafın tek parçalı, uzun bir ekrandan oluşabileceği, bu ekranın eski katlanan telefonlardakine benzer biçimde katlanabileceği anlaşılıyor.
Ekranın iki parçasının arasındaki menteşe bölümü, katlanabilen ekran teknolojisinden faydalanıyor olabilir. Böylece telefonu düz hale getirdiğinizde ekran alanı, iki katına çıkabilir.
Daha önceki dedikodularda Galaxy X'in katlanabilen telefon tasarımından çok, kitaba benzer bir tasarımla gelebileceği söyleniyordu. Bu tasarımın Galaxy X'in son hali olup olmadığı belli değil. Samsung'un katlanabilen telefonuna ait birçok tasarım gördük ve henüz Samsung'un hangisini tercih ettiğini bilmiyoruz.

Samsung Mobile'ın CEO'su Dongjin Koh, Galaxy X üzerinde çalıştıklarını bir yıl önce doğrulamıştı. Ancak telefon çıktığında kısıtlı sayıda sunulması veya sadece Kore'de satılması muhtemel.


