Bugüne kadar ortaya çıkan birden fazla rapora göre, Microsoft 2019'da bir ihtimal piyasaya çıkartabileceği Andromeda isimli çift ekranlı cihazı üzerinde çalışmaya devam ediyor. Yine ABD'li şirket ayrıca, benzer yapıda diğer bir cihaz üzerinde daha çalışıyor. Yine çift ekranlı olacak ve 2'si 1 arada cihaz olarak kategorilenen bu ürünün adı ise şimdilik Centaurus olarak kodlanmış durumda. Peki, Microsoft bu cihazlarını ne zaman piyasaya çıkartacak? Bununla ilgili henüz net bir tarih yok.
Andromeda hakkında gelen yeni bir bilgi ise, Microsoft'un bu cihazı için yeni bir patent aldığı yönünde. Geleneksel 2'si 1 arada cihazlara göre daha farklı ve karmaşık yapıda tasarlanan Andromeda için alınan bu patent, cihazda ultrason sensörlerinin olacağını gösteriyor.

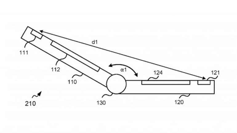
Hemen yukarıda görebileceğiniz patent çiziminin açıklama bölmesinde ise, "çoklu elektronik parçaları ultrason tabanlı konfigürasyon tespiti" yazarken, ekranların her iki kenarına yerleştirecek bu sensörlerin görevi, ekranların açıklık mesafesini ölçümlemek olarak görünüyor. Buna göre elbette ekranlar açıldığında bir tablet şeklinde kullanılabilecek olan Andromeda, sensörler vasıtasıyla arayüzü değiştirecek ve kullanım biçimini o an cihazı kullandığınız şekle uyarlayacak.
Açıkçası bunca zamandır Andromeda ve Centaurus hakkında çok sayıda haber ve patent çıktı. Artık gelse de, bu cihazlar gerçek mi değil mi görsek.