Pek çok teknoloji devi şimdilerde esnek ekranlı katlanabilir cihazlar üzerinde çalışıyor. Bunlar arasında Huawei ve Samsung ilk örneklerini sunmalarıyla başı çekerken, Microsoft'un da bu alanda planları yok değil. Yine yeni bir patent örneği alan Microsoft, bu kez "sıvı" destekli bir menteşe üzerinde çalışıyor gibi görünüyor.

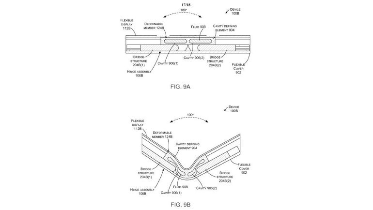
Microsoft'un aldığı patent örneğinde, katlanabilir çerçeve alanlarını sıvı ile dolduracağı yazıyor. Böylece katlanma durumunda çok katmanlı malzemeden oluşan mekanizması bozulan diğer modellerden farklı olarak sıvı kullanmayı tasarlayan Microsoft, bu sayede ekranın zarar görmesini engelleyecekmiş. Elbette bunu nasıl yapacak hep beraber göreceğiz.