Apple, yeni faresiyle yine şaşırtacak!

Farklı fare tasarımlarıyla bizi hep şaşırtan Apple, aldığı patentle yine aynı şeyi yapabilir!

Apple yine şaşırtacak!

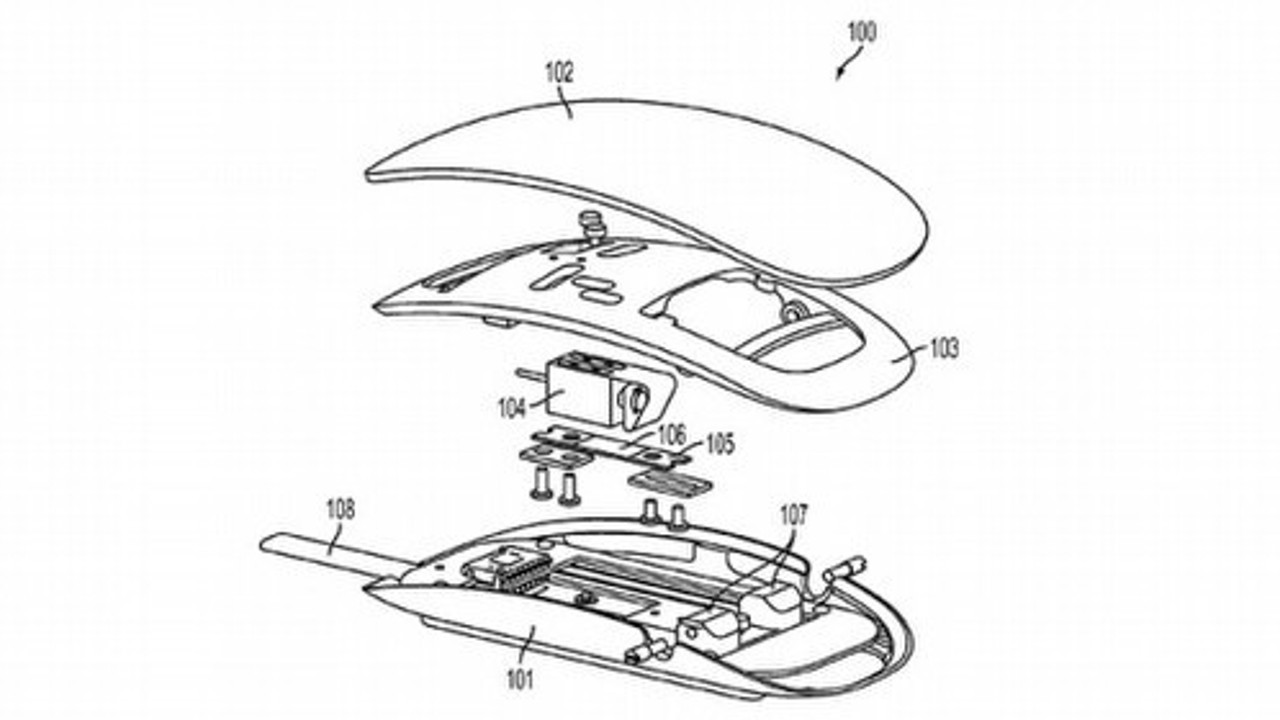
Titreyen fare kavramı aslında teknoloji dünyasında yeni değil. Ancak Apple bu teknolojiyi farklı bir bakış açısıyla geliştirmek üzere bir adım attı ve gerekli patent başvurularında da bulundu. Apple'ın patentine göre, fare kullanıcının web'deki gezintilerine göre kullanıcıya geri tepki verebilecek.

Örneğin kullanıcının bir klasör açmak amacıyla klasöre tıklamasının ardından klasörün açılması ile birlikte farede minik bir titreme olacak. Kullanıcı bir linke tıkladığında farklı bir titreme tepkisi alacak. Bir klasörü veya bir dosyayı taşırken, bu dosyaların ağırlıklarına göre, farklı tepkiler alacak. Bu sayede kullanıcıların, ekrandaki bileşenlerin farklı özelliklerini tespit etmek için parmak ucundaki dokunma hissi de yardımcı olacak.

Bu patentin üretim aşamasına ulaşıp ulaşmayacağı ise şimdilik belli değil.

Okuyucu Yorumları