Apple'ın henüz gerçeğe dönüşmeyen artırılmış gözlüklerinden gelen bilgiler, cihazın henüz bir şehir efsanesine dönüşmediğini gösterdi. Patently Apple'ın ortaya çıkardığı patentler, gözlüklerin nasıl çalışacağıyla ilgili ipuçları veriyor.

"Katadiyoptrik optik sistem" için patent başvuruları yapan firma, artırılmış gerçeklik, üç boyutlu haritalama, daha akıllı bir giriş ekranı gibi konularda 53 patent aldı. Patently Apple'ın keşfettiği son patent ise bir artırılmış gerçeklik başlığının iPhone ve iPad ile nasıl kullanılabileceğini gösteriyor.
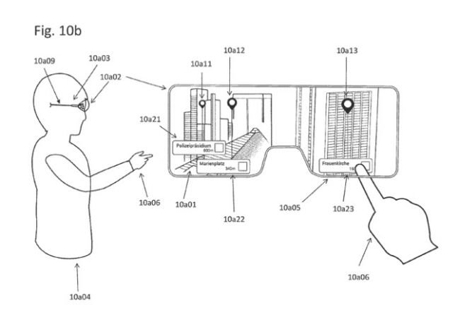
Patente göre AR gözlükleri, izleyicilerin "dokunmaya duyarlı yüzeyi" kullanarak etrafıyla etkileşim kurmasını sağlıyor. Gözlükler bu şekilde iPhone, iPad veya bir bilgisayarla kablosuz olarak iletişim sağlayabilecek. Bir başka patentte ise "bir mobil cihazda gerçek bir çevre açısından ilgi noktalarını temsil etme yöntemi" anlatılıyor. Bunun anlamı, artırılmış gerçeklik sahnesine belirli göstergelerin eklenebilmesi ve bunların kullanıcıya belirli eşyaları bulmada yardım edebilmesi. Bu patent AR gözlüğünden bahsetmiyor ancak "kafaya bağlı ekran" sözcüklerini kullanıyor. Buradan Apple'ın teknolojiyi giyilebilir olarak düşündüğü anlaşılıyor.

Apple'ın adeta sayısız patent başvurusu yaptığını unutmamak gerekiyor. Bu yüzden tüm bunların gerçeğe dönüşmesi garantili değil, yalnızca bir ihtimal.