Microsoft'un yeni keşfedilen bir patenti, Surface Pro 8'in firma tarafından büyük bir yeniliğe tabi tutulabileceğini gösteriyor. Patente göre yeni Type Cover, dahili bir güneş paneline sahip olabilir.

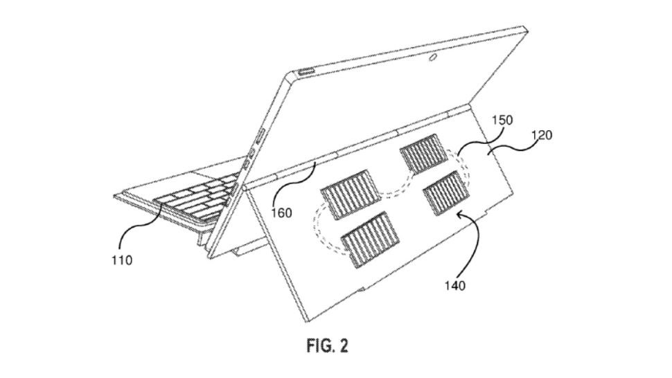
2018'de oluşturulan patent, henüz ortaya çıktığından Microsoft'un teknoloji üzerinde bir süredir kafa yorduğu söylenebilir (patenti bir kenara bırakmadıysa). İyimser düşünürsek teknoloji, Surface Pro 8 gibi bir Surface Pro cihazında yer alabilir. "Entegre güneş panelli mobil cihaz kılıfı" başlıklı patent, Surface Pro'ya çok benzeyen bir cihazı gösteriyor. Cihazın "güneş kılıfı" bir ayak desteği gibi çalışıyor ve Surface Pro'nun Type Cover'ı gibi üzerinde bir klavye bulunuyor.
Güneş panelleri yapay ışıklarla da çalıştığından, içeride veya bulutlu günlerde cihazı şarj etmeye devam edebiliyorsunuz. Kılıf (veya kapak), cihazı kullanırken şarj etmek için de kullanılabiliyor.
Teknoloji gelecekteki bir Surface Pro'ya, örneğin Surface Pro 8'e gelirse şarj ile daha az uğraşacağız demektir. Güneş enerjisi, Surface Pro gibi bol miktarda güce ihtiyaç duyan bir cihazın güç talebini ne kadar karşılayabilir, bilmiyoruz. Ancak 1-2 saat ek pil ömrü sağlaması halinde buna kimsenin itiraz edeceğini sanmıyoruz.