Son aylarda Microsoft'un Surface Pen'iyle ilgili olduğu düşünülen birkaç patent ortaya çıktı. Bu patentler, kalemin çok işlevli bir sürümüne işaret ediyordu. Firmanın en son patenti ise Surface Pen ile birlikte çalışabilecek ek bir parçadan bahsediyor.

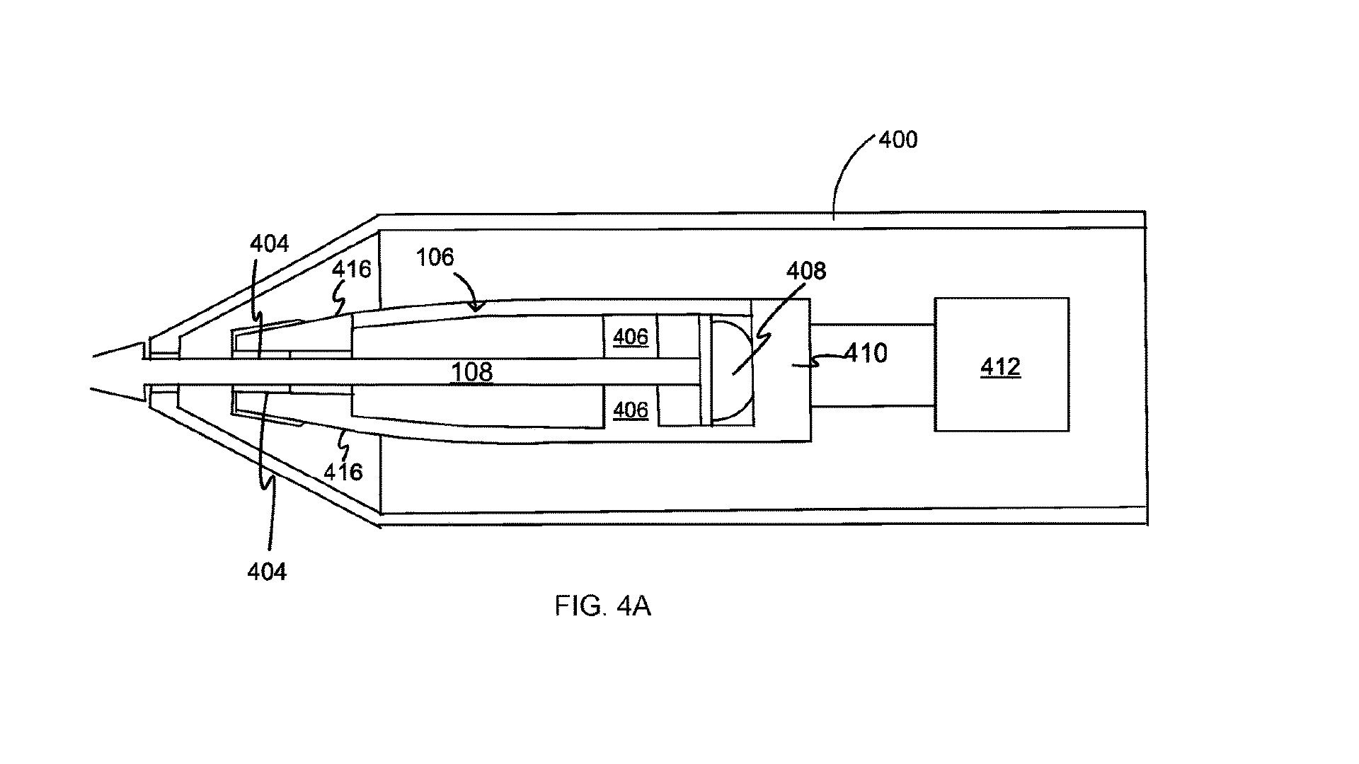
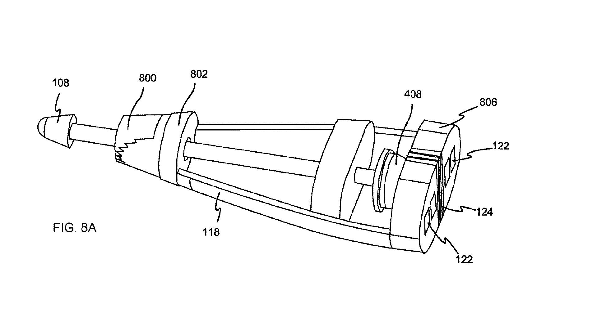
Patentin amacı, Surface Pen'in üretim maliyetlerini azaltmak gibi görünüyor. Bunun yanında şu anki tasarım, sinyal aktarımı açısından da kısıtlı yeteneklere sahip. Firmanın dikkatini yönelttiği harici parça (veya kapsül), bu dezavantajları ortadan kaldırmayı amaçlıyor. Plastik maddelerden oluşan kapsülün silindirik bir yapısı, ucunda ve dışında ise bir anteni bulunuyor. Kapsül, isteğe bağlı olarak dahili veya harici bir basınç sensörü içerebiliyor.
Parça içerisindeki güç mekanizması, kapsüle bağlanan kalemin güç almasını sağlıyor. Kapsülün modüler yapısı, sadece Surface Pen değil, farklı kalem tasarımlarıyla da kullanılabileceğini gösteriyor.

Geçen sene alınan bu patentin gerçeğe dönüşme garantisi bulunmasa da, gelecekte böyle bir cihaz görebiliriz. Dilerseniz, teknik detaylara buradan göz atabilirsiniz.