Yapay zekanın geleceğimizde önemli bir yerinin olacağına inanan Microsoft'un yeni yayınlanan bir patenti, bir balıkgözü kamera ve birden fazla mikrofondan oluşan bir yapay zeka sistemini gösteriyor.

Balıkgözü kameralar, özel lensleri sayesinde 360 derecelik bir görüş açısına sahip olabiliyorlar. Bu yeni bir teknoloji değil ancak Microsoft, bu lensleri ortam kayıt cihazlarıyla bir araya getirmek istiyor. Ortam kayıt sistemleri, görüş açısını genişletmek için çoğunlukla birden fazla kameradan faydalanıyor. Bu, tasarımı karmaşık bir hale getirirken, birden fazla video akışını desteklemek için ek donanım gerekebiliyor.
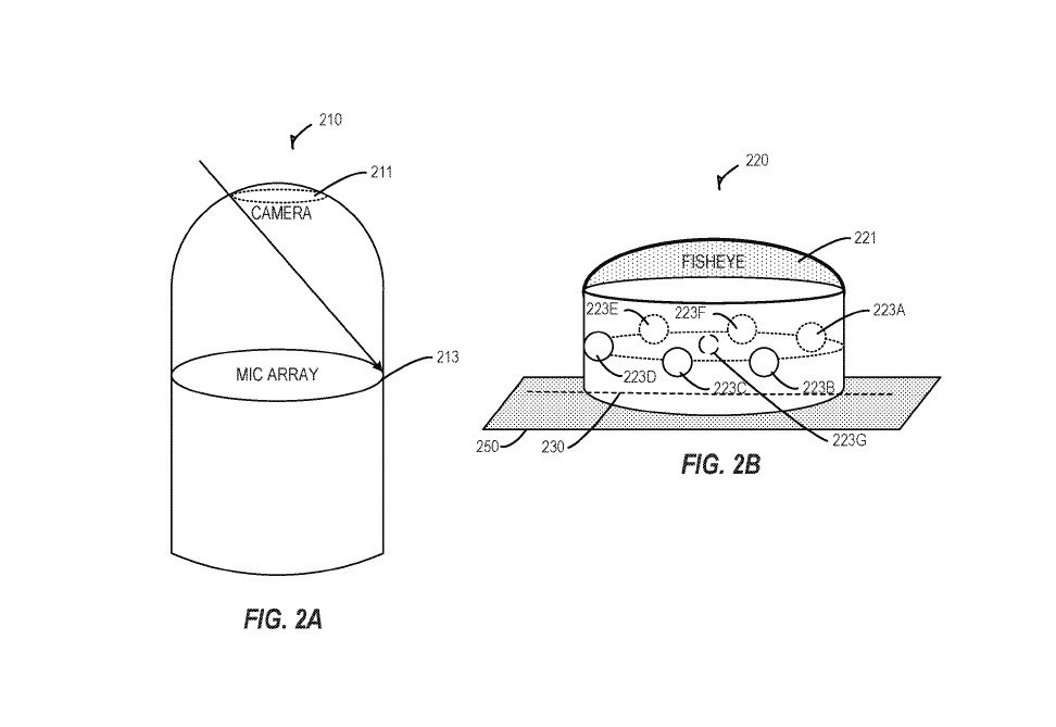
Microsoft'un patentindeki sistemde yukarıya doğru bakan bir balıkgözü kamera ve bir dizi mikrofon bulunuyor. Sistemin tasarımı, hareketli nesneleri kaydetmeyi kolaylaştırmayı ve birden fazla hedef arasında bir harekete odaklanmayı mümkün hale getirmeyi amaçlıyor.

Bir füzyon modeli, derin öğrenme yoluyla ses ve görsel veriyi kullanarak algılamayı geliştirmek üzere sistemin bir parçası olarak çalışabiliyor. Patentte tarif edilen modele göre cihazın kullanım alanı, belirli insanların konuşmalarını algılama gibi işlevlerle genişletilebiliyor. Böylece teknolojinin Cortana gibi dijital asistanlarla bir araya gelmesi de mümkün hale geliyor.
Sistemin kullanım alanı dijital asistanlarla da sınırlı kalmayabilir, PC'ler, tabletler, telefonlar ve fazlası teknolojiden faydalanabilir. Tüm bunlar kulağa ilginç gelse de, Microsoft'un bu cihazı gerçeğe dönüştürme garantisinin bulunmadığını söyleyelim.