Samsung, şimdiye kadar iPhone X ve onun yolunu takip eden rakipleri gibi ekranın üzerinde sensörlerin bulunacağı bir çentik bırakma yöntemine başvurmadan yüksek ekran-gövde oranına ulaşması ile takdir toplamıştı. Güney Koreli dev, çentik kullanmaktan sakındıklarını ve çentik tasarımını çirkin bulduğunu gerek Apple'ı iğneleyen reklamlarla, gerek telefon tasarımları ile her fırsatta belirtiyordu.

Ancak Galaxy Club tarafından ortaya çıkarılan yeni bir patent, Samsung'un da çentiği farklı bir şekilde de olsa benimseyebileceğini ortaya koyuyor.
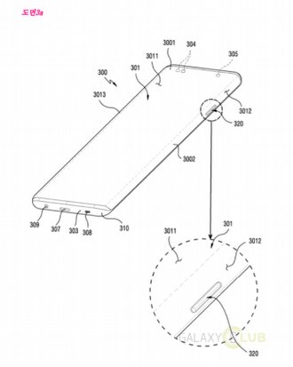
Samsung'un "Bükülmüş Ekran Bulunduran Elektronik Cihaz ve Görüntüleme Metodu Hakkında" adı altında doldurduğu yeni patentinde ekranı tamamen gövdenin kenarlarına uzanmış olan ve sadece güç ve ses açma kapama gibi fiziksel tuşlar için çentik kullanan bir tasarıma sahip bir elektronik cihazdan bahsediyor.
Bir "Edge Çentiği" Geliyor Olabilir

Samsung, bunu resmi olarak bu şekilde isimlendirmemiş olsa da "Edge Çentiği" olarak tanımlayabileceğimiz bu teknoloji sayesinde bugün aşina olduğumuz ekran kenarlıklarından kurtulmuş olan amiral gemisi tasarımının da ötesine geçerek "Infinity Display"in daha gelişmiş bir versiyonunu bizlere tanıtabilir. Patent, ayrıca fiziksel butonlar kullanıldığında butonları çevreleyen ekranın da görsel olarak bir geri bildirim verebileceğini öne sürüyor. Bununla birlikte kenarları ekrandan oluşan bir telefonu elde tutmanın daha zor olacağı endişesi de aklımıza gelmiyor değil.
Bütün bunlar, teknik bir dille yazılmış bir patent belgesinden çıkarılan sonuçlar. Samsung'un patenti bambaşka amaçlar için de kullanabileceğini ya da bu patent doğrultusunda bir cihaz sunmamayı da tercih edebileceğini hatırlatmakta fayda var.