Çift ekranlı Surface Duo'nun bazı özellikleri Microsoft tarafından açıklansa da, kamera hakkında şimdiye kadar pek ilgimiz yoktu. Hatta gösterilen prototipin arkasında bir kamera bulunmuyordu. Ancak firmanın kamera üzerinde çalıştığı ve "dünya klasmanında" bir kamera sunacağı ortaya çıktı.

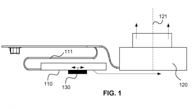
Bu iddianın sahibi olan Microsoft ürün grubunun ürün şefi Panos Panay, ayrıntılardan bahsetmedi ancak ortaya çıkan bir patent bazı ipuçları verdi. WindowsLatest tarafından keşfedilen patent başvurusunda Microsoft, sadece ihtiyaç duyulduğunda hareket eden ve yuvasına yerleşen bir lensin tarifi yapılıyor. Bu mekanizma sayesinde kamera, her zamankinden çok daha ince olabiliyor.
Surface Duo iki ekranlı olduğundan, katlandığında fazla kalınlaşmaması gerekiyor. Alıştığımız telefon kameraları Duo için aşırı kalın olabileceğinden böyle ince bir kamera, Duo için önem taşıyor. Ancak patentin Duo'nun kamerası hakkında olduğunu şimdilik kesin olarak söylemek zor. Dolayısıyla kameranın özellikleri, bir süre daha gizemini koruyacak gibi görünüyor.