Microsoft geçmişte de "3D Touch" gibi teknolojiler üzerinde çalıştı ve bu fikri Xbox 360 ve Xbox One ile birlikte gelen Kinect ile ancak iki boyutlu seviyede başardı. Kinect'in iyi bir izlenim bırakmaması ardından şirket bu alandaki araştırmalarını bırakmış gibi görünüyordu ki, yeni ortaya çıkan patent başvurusu şirketin pes etmediğini kanıtladı.

2016'da ABD Patent ve Marka Ofisine başvurusu yapılmış olan bu patentin adı "Touchless input", yani dokunmasız giriş. Patentte bulunan bilgilere göre teknoloji 2012'de onaylanan başka bir patentten yola çıkıyor.
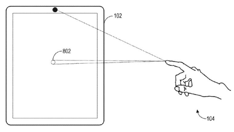
Alan derinliği ölçebilen bir kamera, kullanıcının elini ya da tüm vücudunu kontrol için kullanabiliyor, ancak tıpkı Kinect'te olduğu gibi eller ve parmaklar ana odak noktası gibi görünüyor. Makine öğrenmesi ile geliştirilecek olan teknoloji, kullanıcının elini, parmaklarını ve tüm bunların konumlarını, açılarını ve hareketlerini üç boyutlu alanda algılayabilecek. Tıpkı Kinect gibi, ancak çok daha hassas ve isabetli bir teknoloji söz konusu.
Bu kontroller arasında dokunma, çift-dokunma, tutma, bastırma, kaydırma, çevirme ve diğer birçok el hareketi bulunuyor. Sanki dokunmatik bir ekran gibi, ancak iki boyutlu bir yüzey yerine üç boyutlu bir alanda çalıştığınızı düşünün, tıplı VR kontrol kumandaları gibi.
Elbette böyle bir teknolojinin gün yüzünü görmesi çok zaman alabilir, ya da asla gerçek olmayabilir. Tahminler bu teknolojinin önümüzdeki yıl gelmesi beklenen yeni Xbox konsol ile birlikte piyasaya sürülebileceğine işaret ediyor.