Katlanabilen telefonlar her ne kadar şimdilerde oldukça ilgi çekici dursa da, bu yeni teknoloji halen esnek ekranları sebebiyle oldukça kırılgan ve fazlasıyla hassaslar. Önce Samsung Galaxy Fold'da görülen hatalar, öte yandan Huawei Mate X'te yaşanan sorunlar derken, kısa bir süre önce de Samsung yeni katlanabilir akıllı telefonu Galaxy Z Flip'i tanıtmıştı. Bu arada Galaxy Z Flip'in katlanabilir ekranının da "cam" malzeme yerine plastik alaşım kullandığı da ortaya çıktı. Yani şimdilik bu konuda kafalar bir hayli karışık. Ancak öyle veya böyle teknoloji devleri esnek ekranlı katlanabilir akıllı telefonları bir şekilde hayata geçirmeye başladı. Apple tarafında ise bu konuda herhangi bir hareket yok. Hatta Amerikalı şirket bunun aksine, kendine farklı bir yol haritası çizmiş gibi.

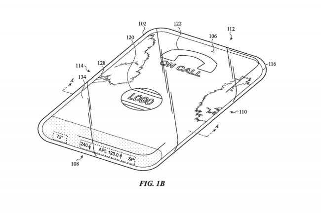
Ortaya çıkan yeni patent örneklerine göre Apple, katlanabilir iPhone'dan ziyade, tamamen cam iPhone tasarımı üzerinde kafa yoruyor. Doldurulan patent örneklerinde yer alan çizimlerde ve raporlarda, iPhone'un ön ve arka ile her 4 kenarında tamamen yekpare cam malzeme olacağı, öte yandan bu alanlarda herhangi bir fiziksel düğmenin yer almayacağı açıklanıyor. Apple, bunların yerine cam iPhone'da tamamen dokunsal alanlar yer alacak.

Tasarım konusundaki inovatif öncülüğü son yıllarda kan kaybeden Apple, görünüşe göre bu konuda ipleri tekrar eline alabilmek için kafa yoruyor. Ancak bu konuda somut bir şey göreceğimizden oldukça şüpheliyiz doğrusu.