Apple Watch 3, Apple'ın çalışmalarıyla Apple Watch 2'nin kalınlık sorunundan kurtulmayı umuyor. Apple'ın 2015'te başvurus yapılan, detayları Mart 2016'da yayınlanan bir patent, artık Apple'ın kontrolünde.
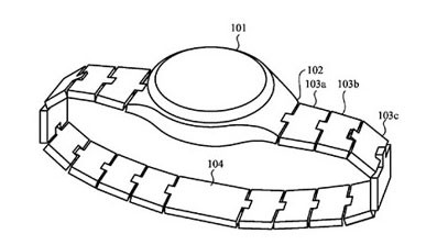
Apple'ın fikri, elektrikli bileşenleri cihazın içerisinden çıkarıp, metal bilek bandının içerisine taşımak. Bandın içine taşınacak bileşenler arasında pil, biyometrik sensörler, hoparlörler, kameralar ve pili şarj edecek hatta güneş enerjisi hücreleri var. Apple'ın aklından geçen belki de en ilginç işlev ise tüm bu modüllerin hızla değiştirilebilecek olması. Örneğin bir kan basıncı izleyicisine ihtiyacınız varsa, bunu saatin bilekliğine ekleyebileceksiniz.

Bu modüle ihtiyacınız olmadığında, farklı bir modüle geçiş yapmanız mümkün olacak. Böylece Apple Watch'un işlevlerini günlük olarak değiştirmeniz de mümkün hale gelecek. Böyle bir teknolojinin Apple Watch 3'e yetişme ihtimali oldukça düşük; hatta Apple'ın bu fikirlerin üzerinde hala çalışıp çalışmadığı bile bilinmiyor. Yine de herkesin Apple'ın saatinden beklediği büyük yenilik, böyle bir yenilik olabilir.