Eğer birden fazla dilde yazı yazıyorsanız ve tek bir klavye düzenini ile çalışmak zorundaysanız, bazen hangi tuşun ne işe yaradığını veya hangi özel karakterin nerede olduğunu hatırlamaya uğraşmanın ne kadar sinir bozucu olabildiğini biliyorsunuzdur. Neyse ki Microsoft, aynı anda farklı dil düzenlerini gösterebilen bir klavye için yaptığı patent başvurusu ile bu durumu değiştirmeyi hedefliyor.
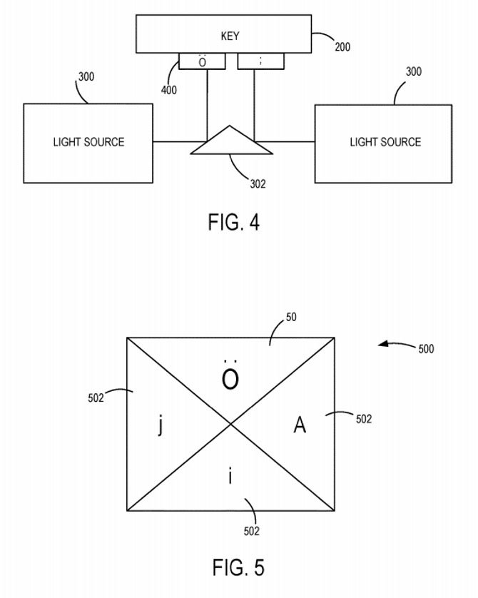
Temel olarak bakıldığında Microsoft'un patentinde her bir tuşun altında bir prizmanın olduğu görülüyor. Işık prizmadan yansıyarak tuşun alt kısmına çarpıyor ve bir karakter gösteriyor. Ancak bu tuş işaretleri sadece ışık ışınları oldukları için kolaylıkla değiştirilebiliyor. Bu da sürekli olarak aynı düzende kalan klavyelere göre avantaj sağlıyor.
Örneğin klavyenizi Türkçe düzenden Almanca düzenine geçirmek istiyorsanız tek bir tuşa basmanız, ışıkların Türkçe karakterlerden Almanca karakterlere dönüşmesi için yeterli oluyor. Böylelikle de klavye değiştirmeden farklı bir klavye düzenine ulaşabiliyorsunuz.
Ayrıca bu prizmaların aynı anda dört farklı ışını yansıtabildikleri de belirtiliyor. Başka bir deyiş ile tek bir tuş üzerinde dört farklı dilden karakterleri görmek mümkün. Yani, eğer Türkçe, İngilizce, Almanca ve Japonca klavye düzenlerine sahip olmak istiyorsanız, klavyenizi bunların her birini gösterecek şekilde ayarlamanız mümkün.

Ne yazık ki bu yenilikçi klavye henüz satın alınabilir değil. Hatta üretimde bile olmadığı tahmin edilebilir. Microsoft'un bu teknolojinin patentini aldığını biliyoruz ancak her zaman olduğu gibi, patentin alınması ürünün üretildiği veya üretileceği anlamına gelmediğini hatırlatalım. Teknoloji dünyasında pek çok farklı patent bulunuyor. Bunların kimi gün yüzüne çıkarken, kimi de raflara asla ulaşmıyor. Bu yüzden de bu klavyenin gerçekten üretileceğinin bir garantisi bulunmuyor.
Her ne kadar bir patentin olması tasarımın kullanılacağı anlamına gelmese de, Microsoft'un çok dilli klavyesinin oldukça başarı vadeden bir gelişme olduğu kesin. Dünya her zamankinden daha çok bağlantılı ve uluslararası bir klavye, birden fazla dil konuşan kişiler için oldukça faydalı olacaktır.