Teknoloji Haberleri ve Son Dakika Teknoloji Gelişmeleri

LastPass'ın Çoklu Platform Özelliği de Artık Bedava! Popüler uygulama "iyice" bedava oldu! Parola yöneticisi Lastpass'ın ücretsiz sürümü, bu yenilik sonrasında daha fazla ilginizi çekebilir! 9 yıl önce
Google'a Göre Chrome Artık Yüzde 15 Daha Hızlı! Chrome artık yüzde 15 daha hızlı! Google, web tarayıcısı Chrome'da yaptığı hız geliştirmelerini işte böyle açıkladı! 9 yıl önce
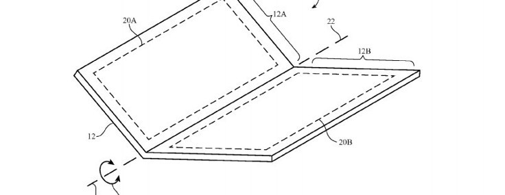
Apple'dan Katlanabilen iPhone Patenti! Apple'dan katlanabilen iPhone patenti! Apple'ın kitap gibi ikiye katlanan bir iPhone hayal ettiği, yeni bir patent sayesinde ortaya çıktı! 9 yıl önce
İşte Dünyanın Yeni En Küçük Bilgisayarı! İşte dünyanın en küçük bilgisayarı! Bilim insanları biyolojik bir virüsten daha büyük olmayan, gerçek bir bilgisayar üretmeyi başardı! 9 yıl önce
TP-Link'ten taşınabilir Ethernet adaptörleri Taşınabilir Ethernet adaptörleri geldi TP-Link, kablo ile internete bağlanmak isteyen ama cihazında Ethernet girişi olmayan kullanıcılar için USB bağlantılı Ethernet adaptörleri... 9 yıl önce
Razer'dan Ortalığı Karıştıran "Seviyesiz" Tweet! Bir tweet'le ortalığı karıştırdı! PC üreticisi Razer, Apple'ın yeni MacBook Pro'suyla dalga geçeyim derken, ipin ucunu fena halde kaçırdı! 9 yıl önce
Sony, Bir Hayli Zor Günler Geçiriyor! Sony için zor günler! Japon devi, birçok alandaki ürün ve hizmetlerinde yaşadığı kayıpların ardından zor günler geçiriyor! 9 yıl önce
Apple Music Üyeliklerinde Büyük İndirim! Apple, büyük indirime hazırlanıyor! Apple Music, rakiplerine karşı avantaj sağlamak için üyelik ücretlerinde önemli bir indirime hazırlanıyor! 9 yıl önce
Windows 10 Creators Update Bu Yeniliklerle Gelecek! Windows Creators Update'te neler olacak? Windows 10'un bir sonraki büyük güncellemesi Creators Update, bizlere hangi heyecan verici yenilikleri sunacak? Açıkladık... 9 yıl önce
Windows 7 Pro ve Windows 8.1 Satışları Durduruldu! Windows 7 için beklenen son! Microsoft, "eski" işletim sistemleri için yayınladığı ölüm fermanını en sonunda hayata geçiriyor! 9 yıl önce
Artık 9.900 Dolarlık Bir Akıllı Saat de Var! Pahalı diye işte buna denir! Saat dünyasının önemli markası Tag Heuer, yenilediği akıllı saati için, adeta bir servet istiyor! 9 yıl önce
Volkswagen'den Radikal Kararlar! Volkswagen'den radikal kararlar! Volkswagen'in geçtiğimiz yıl yaşadığı "Dieselgate" skandalının etkileri, şimdi de motor sporlarına sıçradı! 9 yıl önce
Tekrar Kullanılabilir Akıllı Not Defteri Tekrar Kullanılabilir Akıllı Not Defteri Outliers Akıllı Not Defteri ile not al,uygulama ile dijitalleştir, mikrodalga fırında sil, başa dön! 9 yıl önce
Park sorununa Vodafone'dan akıllı çözüm Park sorununa akıllı çözüm Vodafone ve Huawei'nin dünya çapında başlattığı "TechCity" projesi kapsamında seçilen İstanbul'da canlı akıllı park çözümü ilk kez test... 9 yıl önce
"The Walking Dead" Sahnesini Lego'larla Tekrar Yaşayın! The Walking Dead'e Lego dokunuşu! "The Walking Dead"in yedinci sezonunun ilk bölümünde yaşananları, bir de Lego'ların gözünden izleyin! 9 yıl önce
Firefox'a Etkileyici Bir YouTube Özelliği Geldi! Firefox'a YouTube yeniliği! Min Vid adı verilen yeni bir özellik sayesinde Firefox, YouTube meraklılarını kendi safına çekebilir... 9 yıl önce
Microsoft ve Apple Arasındaki Fark! Microsoft ve Apple arasındaki fark! Microsoft ve Apple'ın yeni bilgisayarları için hazırladığı tanıtım filmlerinde, işler tamamen terse dönmüş gibi duruyor... 9 yıl önce
Mercedes-Benz Concept Pickup Stockholm'de tanıtıldı Yeni Mercedes Stockholm'de tanıtıldı Stockholm/Stuttgart –Mercedes-Benz, yeni Concept Pickup modellerinin dünya tanıtımını Stockholm'de yaptı. 9 yıl önce
Instapaper'dan Herkesi Sevindirecek Müjde! Tamamen ücretsiz oldu! Geçtiğimiz aylarda Pinterest tarafından satın alınan Instapaper, artık premium sürüme ait özellikleri de ücretsiz olarak sunacak! 9 yıl önce
Microsoft'tan Google'a Güvenlik Yanıtı! Microsoft'tan Google'a jet yanıt! Windows'taki tehlikeli açığı kamuoyuyla paylaşan Google'a, Microsoft'tan jet yanıt geldi! 9 yıl önce
Project Tango'lu Phab 2 Pro Nihayet Satışta! Beklenen telefon sonunda geldi! Google'ın Project Tango'sunu kullanan ilk telefon olan Phab 2 Pro, ufak bir ertelemenin ardından nihayet piyasaya çıktı! 9 yıl önce
Oyun Devinin "Hüsranı" Tarih Oluyor! Artık üretilmeyecek! Büyük ümitlerle piyasaya sürülen bir cihaz daha, adını "başaramayanlar" listesine yazdırarak tarih oluyor! 9 yıl önce
Google, Play Store'da Onlara "Dur" Diyecek! Google, Play Store'a el attı! Google tarafından kullanılacak yeni bir yöntemle, Play Store artık çok daha adil bir yer olacak! 9 yıl önce
Apple'dan iPhone 7 Müşterisini Şok Eden Eposta Apple'dan şok eden eposta! Başta spam sandı, ancak "Lütfen Saddam Hüseyin olmadığınızı kanıtlayın" sözcüklerinin sahibi, Apple'dan başkası değildi! İşte yaşanan ilginç... 9 yıl önce